d’APOLLODORE DE DAMAS
COMPOSÉES POUR L’EMPEREUR HADRIEN.
Traduction du texte publié par M. Ch. WESCHER
(Poliorcétique des Grecs. 1867, hep. impér., p. 135-193).
Avec 37 figures extraites des manuscrits grecs.[1]
Les sièges jouent, dans l’histoire ancienne, un rôle considérable, et les récits des opérations auxquelles ils ont donné lieu sont restés souvent fort obscurs pour les modernes, faute de notions suffisamment précises sur les engins divers qui y étaient employés.
L’antiquité nous a bien laissé sur ce sujet quelques traités techniques, tels que le Xe livre de Vitruve et les divers ouvrages publiés en 1693 par Thévenot sous ce titre: Veterum mathematicorum opera; mais, si le premier se trouve dans toutes les bibliothèques, il est presque incompréhensible, faute de figures ou de descriptions suffisantes; quant au recueil de Thévenot, il doit à son titre et à sa rareté de n’être connu que de quelques érudits.
Parmi les traités qu’il renferme, et qui ont rapport aux arts militaires,[2] il y en a plusieurs qui sont relatifs à la construction des machines de jet, un autre qui expose les principes de la fortification, de l’attaque et de la défense des places, et enfin deux qui sont consacrés spécialement à la description des machines en usage dans les sièges.
Ces deux derniers, dus, l’un à Athénée, l’autre à Apollodore, sont ceux dont la traduction présente aujourd’hui le plus d’intérêt, car les autres ont déjà été traduits et commentés.[3]
J’ai bien publié déjà, il y a quelques années, dans les Mélanges Graux, une version d’Athénée; mais cette version, à laquelle a du reste collaboré mon ami, M. Lacoste, ne saurait être considérée que comme une première approximation. Pour ces ouvrages techniques, en effet, il ne suffit pas de mettre du grec en français, comme les hellénistes collaborateurs de Thévenot ont mis du grec en latin, sans s’inquiéter de savoir si le lecteur pourra, d’après les renseignements qu’on lui donne, construire les appareils décrits; on s’expose alors à de nombreux contresens, souvent même des non-sens. Le traducteur doit faire en même temps œuvre d’ingénieur, s’assurer qu’il a bien compris la pensée de l’auteur et qu’il est capable de l’exécuter. Or, cela n’est pas toujours facile: dans chaque art, il existe toujours des procédés connus de tous les hommes spéciaux à un moment donné et dans le détail desquels on croit inutile d’entrer; puis, ces procédés tombent en oubli lorsque l’état social, en se modifiant, crée de nouveaux besoins, de nouvelles industries, basées sur de nouvelles conquêtes de la science; on ne peut alors les restituer que grâce à une sagacité très grande, et en réunissant et comparant les indications plus ou moins vagues qu’on retrouve chez les différents auteurs qui ont traité ces questions.
Les peuples primitifs mettaient leur gloire à faire grand; et c’était avec le bois ou d’énormes monolithes qu’ils édifiaient leurs colossales constructions; aujourd’hui on s’efforce de faire juste, et c’est le fer qui, assemblé pièce à pièce, suffit presque à tous nos besoins.
Aussi sommes-nous certainement moins habiles que nos pères clans l’art d’édifier les gigantesques échafaudages de charpente qu’ils employaient dans les sièges, et nous ignorons encore aujourd’hui les procédés qu’ils employaient pour les mettre en mouvement, ainsi que pour transporter des obélisques ou des statues dont le poids s’élevait quelquefois jusqu’à 1.600 tonnes.[4]
A ce point de vue, le traité d’Apollodore présente une importance réelle. C’est un livre original, beaucoup plus que ceux d’Athénée et de Vitruve, qui ne sont que des compilations d’auteurs plus anciens, et notamment des livres, aujourd’hui perdus, de Diadès, ingénieur d’Alexandre le Grand, et d’Agésistratos.
Apollodore était un habile architecte, qui paraît avoir eu, en outre, l’occasion d’acquérir une grande expérience comme ingénieur militaire. Il passe, sur la foi de renseignements que je n’ai pu contrôler, pour avoir établi sur le Danube un pont dont quelques vestiges existent encore. Il semble être né à Damas; et voici ce qu’en dit Dion Cassius,[5] à propos de l’Empereur Hadrien:
« Quant à Apollodore, architecte qui avait construit à Rome le Forum, l’Odéon et le gymnase de Trajan, il l’exila d’abord, puis il le mit à mort sous prétexte qu’il avait commis quelque crime, mais, en réalité, parce qu’un jour que Trajan lui donnait des instructions pour ses travaux, Apollodore avait répondu à une observation déplacée d’Hadrien : « Va-t-en peindre tes citrouilles; car, pour ceci, tu n’y entends rien. » Or, dans le moment, Hadrien tirait vanité de ce genre de peinture. Lorsqu’il fut devenu empereur, il en garda ressentiment et ne supporta pas la liberté de parole de l’architecte …………….. il ne contint ni son ressentiment ni sa peine, et fit mourir Apollodore. »
J’ai sauté une anecdote relative au temple de Rome et de Vénus, dont Apollodore aurait critiqué en termes assez vifs les dispositions, proposées par Hadrien.
Tels sont, avec les renseignements donnés par Apollodore lui-même dans le préambule de son traité, toutes les données certaines que j’ai sur lui, car j’ignore où le traducteur de Dion Cassius a pris les éléments de la note dont il accompagne le passage précédent: « Hadrien, néanmoins, écrivit plusieurs fois à Apollodore dans son exil, et lui communiqua ses projets; il y eut même discussion entre eux sur les poliokhtika livre écrit par Apollodore à la demande de l’Empereur. »
Peu importe d’ailleurs que ce soit à Hadrien ou à Trajan que le traité des Poliorcétiques ait été adressé. La preuve de sa valeur, c’est qu’il fit peu à peu oublier tous les autres, et que c’est presque exclusivement d’après lui que Héron de Constantinople composa au xe siècle son livre sur la Poliorcétique.[6]
M. Lacoste rend donc un véritable service aux érudits en leur faisant connaître l’œuvre de l’architecte de Trajan nous ne doutons pas que l’accueil fait à son travail ne l’encourage à continuer ses traductions d’auteurs que bien peu de gens sont tentés d’aller consulter dans leur texte original.
C’est seulement lorsque philologues et ingénieurs auront ainsi pris une vue d’ensemble de cet art de la charpenterie antique, qu’ils pourront espérer de donner des traductions définitives en recourant alors, pour les passages obscurs, à des hypothèses infiniment probables sur les révisions de texte et les restitutions de machines.
A l’École polytechnique, le 22 février 1890.
Le lieutenant-colonel du Génie,
A. de Rochas d’Aiglun.
J’ai lu, Prince, ta lettre sur les machines, et j’ai été heureux que tu m’aies jugé digne de recevoir communication de tes idées à ce sujet.
Aussi, ayant construit divers modèles utiles à l’art des sièges, je t’en ai adressé les dessins; pour tous, j’ai ajouté quelques mots d’explication, et je t’ai envoyé un de mes aides, à qui j’ai tout montré, et devant lequel j’ai travaillé, de telle manière qu’il pourra, chaque fois que besoin en sera, construire d’après mes modèles.
Ne connaissant pas les lieux, j’ai fait des figures nombreuses et variées, discutant les principes, indiquant pour chaque cas le nombre d’hommes nécessaires pour le travail, la protection et la sécurité,[7] et exposant des types dont la plupart sont faciles à établir, légers, d’un grand effet, et de nature à être rapidement construits par des ouvriers quelconques.
Sur toutes ces choses, Prince, je t’ai ouvert la voie, en t’indiquant non seulement de quelle manière doivent être conçus ces ouvrages, mais aussi comment on doit les employer: car, autre est l’attaque des points fortifiés, avec des préparatifs complets, en n’épargnant ni les matériaux ni le temps, autre est celle de provinces ou de pays entiers, qui changent de maître au premier revers. Aussi, ayant considéré ces choses et y ayant réfléchi, ai-je tardé à te répondre, n’ayant rien pu trouver d’utile clans les anciens auteurs, soit au point de vue de la nouveauté, soit à celui de la rapidité de l’emploi.
Je t’ai envoyé aussi des charpentiers du pays et d’autres ouvriers capables de bien travailler et exécuter. Car je sais, m’étant trouvé auprès de toi dans des préparatifs de guerre, combien j’ai dû m’estimer heureux d’être riche en soldats propres à fournir un bon travail, soit par suite d’habitude, soit grâce à leur dextérité naturelle, tandis qu’en campagne on manque ordinairement à un point incroyable de ce qui est nécessaire à la facilité des manœuvres, soit en fait d’hommes, soit en fait de machines.
Si j’ai laissé quelque chose d’obscur dans mes explications sur ces divers engins, sois indulgent pour moi, Prince; car les termes techniques sont peu usités dans le langage courant, et le sujet lui-même est d’une étude compliquée; moi-même, enfin, peut-être suis-je un médiocre écrivain. Mais je compte sur ta haute valeur naturelle pour redresser mes imperfections, et sur ta bienveillance pour les excuser.
Il faut pour les sièges les machines suivantes: des tortues-bélières,[8] des tortues de mineurs, des tortues pour rouler des fardeaux, des béliers de modèles faciles à préparer, des ponts volants, des équipages pour les béliers; des gardiens pour tous les engins qu’on élève; des guetteurs ou observatoires pour surveiller l’intérieur de la place, des échelles faciles à établir, des mines variées selon la disposition des remparts, des ponts sur les rivières, pour lesquels on assemble un grand nombre de pièces.
Tout cela doit pouvoir se construire aisément avec les moyens dont on dispose, être de formes variées, des plus petites dimensions et du moindre poids possible, facile à exécuter par les premiers ouvriers venus, de nature à être aisé à établir et à modifier, d’un succès certain, et d’un transport commode offrir de la sécurité, être difficile à brûler, à détériorer, à briser, et aisément démontable.
Si les villes et les remparts sont situés sur des pentes escarpées, il faut se préserver des projectiles qui peuvent être roulés d’en haut sur les machines, c’est-à-dire des troncs d’arbres, ou des pierres rondes, ou des chariots chargés de poids, ou des vases ronds remplis de cailloux ou de terre. Il faut s’en garantir, en choisissant dans les moyens suivants celui qu’on a le plus sous la main.
Il est bon de creuser des fossés obliques, d’une profondeur de cinq pieds, avec un mur droit fait avec les déblais, sur lequel viennent buter les poids roulants, établi de manière leur résister, en sorte qu’un homme qui remonte le fossé soit abrité par lui comme par un bouclier.
Les sapeurs se servent, pour se protéger, du fossé même qu’ils viennent de creuser, enfonçant des pieux obliquement dans le talus, les recouvrant de planches, et entrelaçant tout autour des fagots de branchages, de manière à former un avant-mur, par l’accumulation des projectiles qui l’atteignent d’en haut.[10]
La tortue en forme de coin, amenée par des soldats, est supportée par des poutres quadrangulaires, d’un pied d’équarrissage; elle doit être de bois bien dressé,[11] et être armée, au lieu de roues, de pointes en fer, de sorte que, quand on la met en place, elle se fiche en terre, et ne peut être arrachée pendant le combat.
La face postérieure de cette tortue aura de plus une poutre en travers qui la contrebutera, pour éviter le recul.
Il arrivera que les projectiles pesants tombant dans le fossé en écharpe seront rejetés de côté, ou, fondant sur les pieux obliques posés transversalement, seront également repoussés; ou enfin, frappant sur le coin, ils se briseront de part et d’autre, et l’espace qui est au milieu sera à l’abri de leurs atteintes.
Ces tortues-coins doivent être nombreuses, pour être petites et faciles à transporter; elles seront utiles jusqu’au moment de donner l’assaut; la troupe des hommes qui travaillent au siège suivra, ayant ainsi une couverture[12] de largeur des coins.
On doit protéger ces hommes au moyen de tortues légères, de celles qu’on appelle berceaux,[13] contre le tir des archers et des frondeurs: elles sont faites comme il suit:
Les soldats sont munis de perches verticales, distantes les unes des autres de cinq pieds environ,[14] reliées les unes aux autres de manière à conserver cet intervalle de cinq pieds, et armées d’un embout aigu, pour pouvoir se ficher en terre et ne pas fatiguer inutilement les hommes qui les portent.
A ces perches on suspend des peaux sur les fronts et à la partie extérieure.[15] Au-dessus, sur les perches droites, on dispose des peaux brutes, non tendues, doubles, et ayant du lâche, afin d’amortir les projectiles.
Les perches sont de hauteurs inégales et alternées, afin que le dessus ait la forme d’une tortue.[16] Les plus élevées d’entre elles doivent avoir une hauteur de plus d’une fois et demie celle d’un homme, et il faut faire en sorte que les plus courtes soient encore plus hautes qu’un homme.[17]
Et voici la figure du fossé, des palissades, de la tortue-coin, du berceau, de la tortue et de la colline.[18]

Quant on est arrivé tout près du rempart, il faut construire des tortues de diverses espèces, les unes pour la mine, les autres pour la manœuvre du bélier.
Pour la mine, on doit appuyer contre le mur des pièces de bois taillées très exactement, de manière qu’appliquées contre le rempart, elles s’y adaptent bien. On établit contre ce rempart un cadre[19] ayant sa base sur le sol, qui soutiendra par des assemblages biais les chevrons et les arcs-boutants de la tortue, de manière à faire glisser tous les projectiles dirigés contre elle.
On placera ainsi trois, quatre ou cinq pièces de bois équarries, d’une longueur d’au moins dix pieds, et d’une épaisseur d’un pied au moins. Dans certaines tortues, les extrémités de ces pièces de bois doivent être armées d’aiguillons, pour se ficher en terre et ne point vaciller.
Une fois ainsi établies il faut y suspendre de chaque côté des peaux, des toiles ou du feutre, pour les protéger contre les traits lancés obliquement.
Sous chaque tortue se glissent deux hommes, minant le mur, sur une épaisseur supérieure à sa moitié, avec une largeur égale à celle de la tortue, et une hauteur de trois pieds à partir du sol, de sorte que la terre sortie des fouilles puisse être rejetée hors de la mine, aussi loin que le mineur pourra le faire.
Les tortues doivent être éloignées les unes des autres de moins de vingt pieds, afin que grâce à leur nombre elles travaillent sur beaucoup de points; il faut qu’elles soient petites et faciles à transporter, et qu’elles ne soient pas trop éloignées du mur, pour que les traits ne tes atteignent pas.
La figure est représentée ci-après.
Une fois le mur miné, et pour ainsi dire entouré, quand il aura autant de brèches qu’il y a de tortues, dans chacune de ces mines deux hommes travailleront, se tournant le dos, sans avoir désormais besoin de tortues, car ils fouillent le rempart transversalement, toujours abrités par la largeur déjà minée sous ce même mur, et ainsi ils exécutent leur fouille; et ces deux mines se font ainsi qu’il a été dit plus haut.
Pour que le mur ne vienne pas à s’écrouler sur les mains des travailleurs, il faut le buter au moyen de potelets, qui doivent être nombreux et minces, plutôt qu’épais et en petit nombre ; il faut placer une semelle en bas, et un chapeau[20] clans le haut, pour que le potelet ne s’enfonce pas clans le sol, et qu’il ne supporte pas directement le poids du mur.
Une fois que l’on a terminé complètement la mine et la pose des poteaux, il faut réunir à l’entour des broussailles, et toutes sortes de bois facilement inflammables, des copeaux, des torches de résine, et mettre le feu partout; si quelque point reste non incendié, on l’allume par dessous avec des projectiles enflammés; il faut aussi répandre tout autour des fragments de bois soufrés et, les soubassements des poteaux étant ainsi consumés, le mur entier s’écroulera; l’aspect de cette disposition est représenté par la troisième figure.

Aux poutres des tortues, il faut suspendre des peaux revêtues de leur poil, et clouer des planches, afin que ni le sable chaud, ni la poix, ni l’huile versée d’en haut, ne s’infiltrent jusque sur les travailleurs.
Il faut également clouer sur la face supérieure des chevrons des clous à tête plate, d’un demi pied, qui ne devront pas être enfoncés complètement, mais présenteront une saillie; on remplit l’intervalle de terre grasse délayée, qui sera retenue, tant par la multiplicité des clous, que par la largeur de leur tête. Cela préservera les bois de l’incendie causé par les matières enflammées jetées d’en haut, et empêchera l’infiltration des liquides brûlants.
Ces tortues devront être revêtues d’argile hors de la portée des traits; c’est alors qu’assemblées et montées sur des roues, on les approchera du rempart.

Si nous voulons renverser promptement le mur, nous le perforerons au moyen de nombreux trépans.
Ces trépans doivent être des pièces de bois d’un doigt d’épaisseur, à l’extrémité desquelles est clouée une bande de fer, de douze doigts de largeur (0,23 m) et huit de hauteur (0,15 m) portant une mèche en son milieu; à l’autre extrémité on doit fixer un cylindre en bois, aminci dans la partie centrale, de manière à pouvoir le tourner par la poignée, soit avec des barres,[21] soit avec les mains.

Le cylindre doit également être muni d’un autre pivot, tournant dans une crapaudine poussée par une barre, qui accompagne toujours la mèche qui fait le trou.
La longueur totale de la barre qui constitue le trépan ne doit pas être inférieure cinq pieds.
Le trou du foret doit être fait en biais, et plus élevé à l’intérieur du mur, afin que, d’une part, la terre rongée tout autour puisse glisser et sortir du trou, et que, d’autre part, la tige du trépan s’appuie sans difficulté sur la règle placée en travers sur le sol, qui le contrebute, et que l’inclinaison des trous non seulement amène la chute du mur, mais encore le fasse glisser vers l’extérieur, et que la chute se produise tout d’un coup. La figure de l’inclinaison est ci-contre.
Ces trous dans le mur se font avec ordre, et en ligne droite, espacés d’un pied et quart.

Lorsque le front est percé, il faut remplir les trous, non sur toute la profondeur, mais jusqu’à un pied, avec de petits fragments de bois, qui ne doivent pas être carrés, afin de ne pas se réunir par leur faces planes, mais de forme arrondie, comme des pieux; on les pousse comme des coins, afin qu’ils supportent le mur, et on les fait arrondis, pour que de tous côtés il existe des intervalles entre eux.
S’il est possible, ces petits rondins seront faits avec des bois résineux; à leur défaut, avec des bois bien secs, ou soufrés, ou enduits de poix. Leur largeur ne doit pas dépasser trois doigts (0,06 m).
Une fois tous les trous bourrés, on doit percer l’intervalle qui les sépare de trous placés sur la même ligne droite ; la figure est ci-dessous.

Il faut faire obliquer les trous de chaque côté, afin qu’ils se rencontrent à l’intérieur.
On remplit les seconds trous de copeaux secs et de broussailles combustibles, ou de petits fragments de bois auxquels on met le feu; les rondins ont été intentionnellement avec une surface inégale et avec une saillie sur le parement du mur par en bas, pour que le feu puisse s’en emparer, et être attisé par le vent.
Au cas contraire (si le vent n’aide pas), on se sert de roseaux semblables à ceux des oiseleurs; percés de bout en bout, et remplis d’air au moyen de soufflets de forge, ils atteignent le point voulu, et excitent le feu, étant armés d’une buse allongée, faite d’un tube de fer.
Voila tout ce qui concerne les murs en briques.
Quand le rempart est en pierre, il est d’usage de l’entourer de pièces de bois dont la combustion désagrège la pierre. Mais c’est pour l’assiégeant un travail difficile: l’eau que l’on verse d’en haut éteint le feu; l’action de la flamme, qui tend toujours à s’élever, est faible sur le mur qu’elle n’atteint qu’obliquement; enfin, les hommes qui font ce travail ne peuvent s’abriter sous une tortue qui se consumerait également.
On fait alors usage de vases en terre cuite, cerclés de bandes de fer, ayant au fond un trou d’un doigt (0,02 m) de diamètre. Ces jarres, ouvertes à la partie inférieure, sont remplies de charbon menu, et on leur adapte un tube en fer, dans lequel se place un autre tube communiquant avec un soufflet de forge.

En y mettant le feu, le charbon s’enflamme sous l’action du vent, fait les mêmes ravages que la flamme, vient attaquer la pierre et la désagrège.
Ou peut la ronger également au moyen du vinaigre ou de tout autre acide.
Ci-dessus est la figure, telle qu’elle est dessinée. Les forgerons se servent journellement de ce système.
§ 1. - De la tortue-bélière.[22]
Si nous voulons ébranler au moyen du bélier une tour, une porte ou un mur, nous construirons des tortues-bélières, montées sur roues, élevées et supportant la suspension du bélier, pour donner plus de force aux coups; car, plus haut sera placée la suspension, plus s’étendra l’espace parcouru par le bélier, et, plus cet espace sera allongé, plus forts seront les chocs.
Il faut donc que la forme de cette tortue soit surtout en hauteur et non en largeur, afin d’être facile à transporter : sa hauteur doit être double de sa largeur, afin d’avoir un faîtage aigu; les faces latérales doivent être obliques, afin que les projectiles dirigés sur elle non seulement glissent par côté, mais aussi soient repoussés au loin.
La tortue doit être inclinée vers le rempart et porter à l’avant une sorte d’abri, destiné à recevoir les projectiles lancés contre le bélier et à les renvoyer de chaque côté ; en effet, les assiégés lancent soit des pierres creusées en forme de mortiers (ou de tores?), soit des pièces de bois obliques, avec deux branches inclinées comme des jougs, de manière avoir leur plein effet, et, entourant le bélier, à prévenir son choc contre le rempart et à briser le bélier, ou à renverser et tuer les hommes qui le manœuvrent.
La construction de la tortue est la suivante:
On met en place deux longrines distantes d’au moins douze pieds; et sur chacune de ces longrines on assemble obliquement des pièces de bois de douze doigts d’épaisseur et d’un pied de largeur (0,23 sur 0,31 m), avec une hauteur de vingt-quatre pieds au moins. Ces pièces de bois, au nombre de quatre, doivent être reliées à leur extrémité supérieure par une pièce de bois qui les embrasse toutes et forme le faîtage de la tortue: cette pièce doit avoir une longueur supérieure à celle des longrines.
Du côté où l’on veut donner de la pente à la tortue, il faut au milieu des montants clouer d’autres traverses; et à l’intérieur on doit établir des arcs-boutants qui contrebutent les traverses intermédiaires et le faîtage unique.
La surface extérieure des montants doit être revêtue de planches de quatre doigts d’épaisseur, et la forme générale de la machine est terminée.
Il faut encore qu’à partir du sol, la face extérieure des longrines inférieures soit supportée au moyen de pièces de bois placées verticalement.[23]
L’espace vide entre les longrines inférieures doit recevoir de petites roues, qui supportent la tortue.
Pour que les longrines inférieures ne s’écartent pas, il faut y appliquer tout autour des liens, qui ne se font pas au moyen d’une mortaise extérieure, mais sont cloués à recouvrement comme les écailles d’un poisson et constitueront les bases de la tortue.
Voilà comment est construite la tortue qui porte le mât.
Quant à la tortue qui est derrière les travailleurs, elle est moins élevée, et les deux autres qu’on dispose en arrière pour assurer la sécurité du passage sont encore plus petites.
Nous les préférons, en effet, plus nombreuses et plus petites, afin de pouvoir plus aisément les déplacer et les assembler; elles doivent toujours être construites avec de petites pièces de bois; cela vaut mieux que d’en construire une seule de grandes dimensions, à cause des inconvénients qui en diminuent l’utilité.
Les figures et les élévations sont représentées ci-dessous.

Sur toutes ces tortues, ainsi que je l’ai dit il faut enfoncer de nombreux clous à tête plate, qui retiendront une couche d’argile malaxée de quatre doigts (0,07 m), au moins, dont on enduira les planches transversales de la tortue, en y mêlant des poils, afin d’éviter les gerçures.
A côté des roues qui supportent la tortue, il faut placer des coins qui la maintiendront fermement assise. De cette manière, les essieux des roues ne supporteront pas seuls tout le poids de la machine, et elle ne sera pas exposée à glisser par suite des secousses du bélier. Quant on voudra déplacer la tortue, on chassera les coins.

Les murs en pierres sont plus promptement ébranlés que ceux de briques; car le peu de dureté de la brique amortit le choc, et elle se creuse plutôt qu’elle ne se brise; la pierre, an contraire, résiste et reçoit un choc violent qui la brise; cela arrive surtout aux portes, aux angles des tours, et à tous les autres points qui ne sont pas soutenus par une grande épaisseur.
La figure ci-après démontre ce qui en est.
Le bélier le plus grand, le plus long, ayant le point de suspension le plus élevé, a plus d’effet que ceux qui ne sont pas établis dans les mêmes conditions. Si donc on n’a qu’une petite poutre, il faut la suspendre de manière à augmenter la longueur de la partie qui donne le coup; à l’autre extrémité, pour maintenir l’équilibre, il faut clouer des masses de plomb, qui augmenteront de beaucoup la force et le poids.
La figure est ci-dessous.

Si l’on a plusieurs pièces de bois courtes, en les réunissant par deux ou par trois, on en composera un grand bélier;
Les assemblages des bois doivent être éclissés avec quatre autres pièces de deux palmes (0,154 m) de longueur, ce qui ne dispensera pas de clouer les bois ensemble.[24]
Les extrémités devront être réunies avec des cordes de chanvre, et les bois devront être coincés sous les cordes avec des coins délardés, afin que leurs arêtes vives ne coupent pas la corde.
C’est ainsi qu’on arrivera à remplacer une seule grande pièce de bois par plusieurs assemblées. La figure est ci-dessous.

Il faut néanmoins, afin que le poids ne fasse pas rompre la ligature des pièces de bois, avoir deux ou trois points de suspension, le bélier se maintient en effet alors, indépendamment des éclisses et des clous, comme s’il était d’une seule pièce, chaque poutre étant supportée par sa propre suspension. La figure est ci-dessous, et les descriptions sont placées plus haut.

Les trois parties reculeront et avanceront ensemble, ne faisant qu’un et n’éprouveront aucune variation dans leur mouvement.
Il n’en faut pas moins recourir à l’éclissage aux clous et aux brides en cordages; car ainsi les poutres ne se choqueront pas entre elles; et le mur ne sera pas frappé par une seule; étant unies, il se produira, par la réunion des trois parties, un choc violent et sans perte de force.
La tête du bélier recevra (une garniture semblable à) une enclume, jusqu’à la moitié de la longueur de laquelle il pénétrera; une frette en fer entourera l’extrémité, de crainte que le choc ne fasse éclater le bois.
Tous les béliers, même ceux d’une seule pièce, doivent avoir deux points de suspension peu distants l’un de l’autre, dans le but d’empêcher que la poutre, suspendue en un seul point, n’oscille comme un fléau de balance.

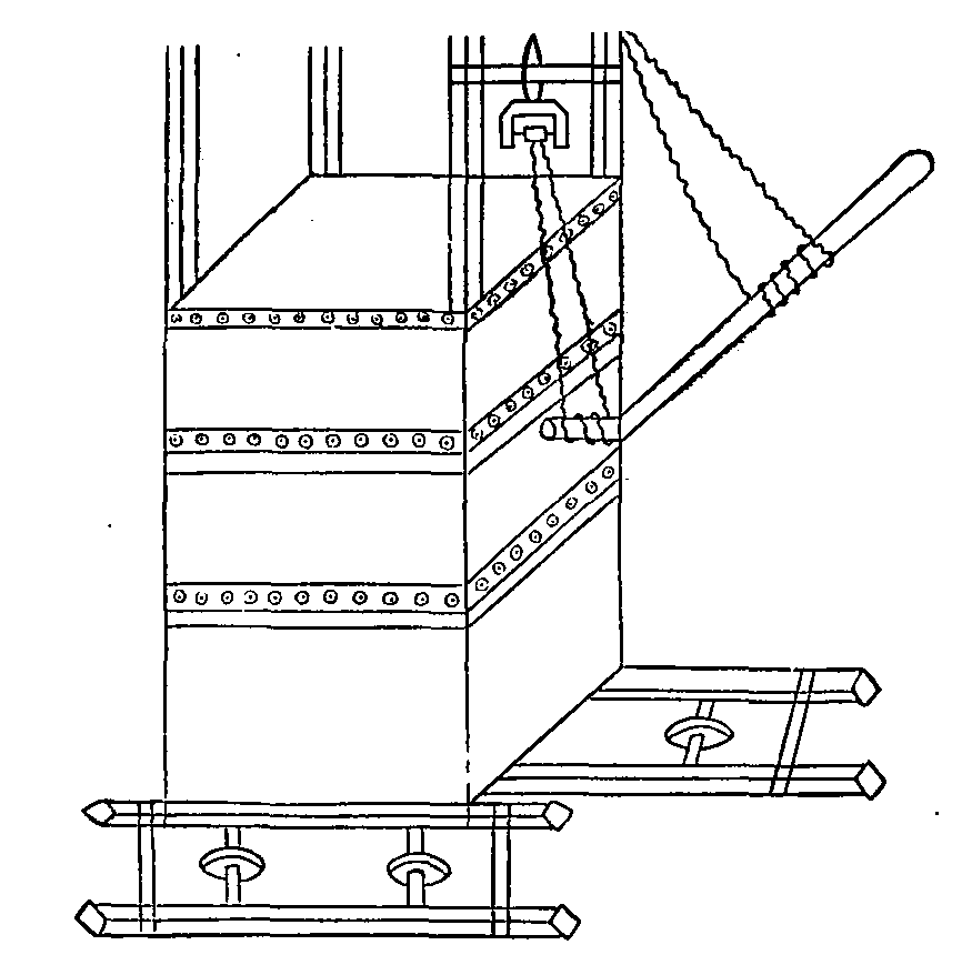
Si nous voulons connaître l’épaisseur des remparts, ce qui se trouve derrière eux, ce que font les ennemis, quel est leur nombre, nous rendre compte des circonstances et des lieux, nous construirons un observatoire de la manière suivante:

Deux poutres quadrangulaires, bien dressées d’un côté,[26] sont placées verticalement sur des longrines, en laissant entre elles un intervalle égal à leur épaisseur;[27] entre ces longrines, on place une traverse sur le sol, dans l’alignement des premières poutres verticales; quatre arcs-boutants partant du sommet de ces dernières les consolident, [s’appuyant] sur l’extrémité [longrines]. Quant aux pièces verticales, l’espace qui les sépare est occupé par deux pièces de bois de deux palmes (0,154 m) d’épaisseur, bien dressées d’un côté, distantes entre elles de trois pieds au moins. Ces dernières pièces doivent être reliées au moyen de barreaux qui les traversent et être de la même longueur; elles doivent dépasser [les pièces verticales], d’un côté des deux cinquièmes de leur longueur totale, et de l’autre des trois cinquièmes.[28] Les extrémités de ces leviers[29] sont percées, pour recevoir, du côté où la longueur est des deux cinquièmes, une échelle légère reliée de même au moyen de clavettes, et de l’autre côté une pièce de bois servant à tirer, dont la longueur ne doit pas dépasser huit pieds.
Il arrive alors que, en relevant l’extrémité qui la supporte, l’échelle-guetteur se dresse sur le champ, et elle reste toujours verticale, parce qu’elle est retende par les deux leviers.
La hauteur des montants verticaux doit être le tiers de celle du rempart, celle des leviers à peu près la même et celle de l’échelle la moitié [de cette même hauteur]; ainsi l’addition de ces trois hauteurs élève l’observatoire au dessus du mur.
On doit établir en haut, à l’extrémité de l’échelle, une espèce d’abri semblable à un bouclier, pour préserver les hommes de l’atteinte des arcs et des frondes.
Voici les figures de l’observatoire couché et dressé.[30]

Il faudra en outre installer quatre cordages, attachés aux extrémités supérieures des montants verticaux et fixés au sol par des piquets en fer ou en bois nombreux et espacés: [ils empêcheront] que la machine tout entière ne vacille par l’effet de son poids.
Si nous avons à construire des tours près des remparts, assez loin de ceux-ci pour n’être pas atteintes par les projectiles de la place, nous les établirons de la manière suivante, avec de petites pièces de bois et montées sur des roues.
On assemble deux pièces de bois équarries, à section rectangulaire,[31] et parallèles dans le sens de la largeur, couchées deux à deux sur l’épaisseur aplanie;[32] elles auront seize pieds de longueur, un pied et quart (0,39 m environ) de largeur, et une épaisseur de douze doigts (0,23 m).
Si l’on veut construire une tour plus grande, de quarante pieds et plus, il faudra augmenter les longueurs, les épaisseurs et les largeurs.
Ces pièces de bois couchées deux à deux (moises), espacées entre elles de douze doigts, et aux extrémités d’un pied environ,[33] reçoivent deux pièces de bois verticales, qui descendent jusqu’au niveau du sol, d’une longueur de seize pieds, d’une épaisseur de douze doigts,[34] et d’une largeur d’un pied et quart.
A ces dernières pièces de bois sont fixés par des clous des revêtements en planches se recouvrant à écailles, des traverses, et des barres qui les maintiennent verticales; à chacun de ces montants verticaux, qui sont au nombre de quatre, on accole deux pièces de bois de même largeur et de même épaisseur, d’une hauteur de neuf pieds; ces pièces, au nombre de huit, sont fixées sur les moises du bas, et elles sont reliées avec des clous entre elles et avec les montants au moyen de règles;[35] et ainsi chaque montant se compose de trois pièces;[36] on pose à la partie supérieure des moises semblables et parallèles à celles du bas; et l’on place encore sur les premières moises inférieures deux traverses par dessus;[37] près des piliers, de deux en deux, on place d’autres pièces, complétant le carré et achevant la base inférieure; et on les relie avec des planches en recouvrement et des couvre-joints; et ainsi les quatre côtés sont achevés.
La longueur des moises supérieures doit être égale à celles des premières, afin que les quatre piliers soient également distants entre eux de tous les côtés.
Dans la partie où les pièces du bas qui reçoivent les montants s’écartent, on place des roues plus élevées que la largeur des moises, dépassant par en bas, élevant de terre les cours de moises, de manière que tout l’assemblage puisse se tourner et se déplacer.
De la même manière, aux moises supérieures qui relient les montants, on fixe des longrines et des traverses comme en bas, pour répéter en haut le même travail qui existe au premier étage. Ces longrines et ces traverses doivent avoir une longueur d’un pied de moins que dans le bas, pour que l’ouvrage entier ait du fruit et de la pente, afin d’éviter les oscillations dues au poids trop grand du haut, et qu’il ait de l’assiette, par suite de la largeur de sa base.[38] Il n’en faut pas moins, dans la partie supérieure, attacher aux angles des cordages, tendus à l’extérieur dans le milieu (des côtés de la tour), qui, par leur disposition même, donnent à la tour une sorte d’assiette plus large ils doivent être amarrés autour de pieux munis de clavettes, ou de clous en fer ou d’organeaux obliques fichés en terre pour obtenir la tension.
Cela fait, les premiers montants centraux se trouveront dépasser du tiers de leur longueur les fourrures latérales; de la même manière, ceux qui sont à la suite recevront des pièces latérales qui dépasseront celles du milieu, et qui auront une hauteur de neuf pieds. Sur le montant central on en place un autre entre les pièces latérales; et de même on dispose à chaque étage des longrines et des traverses. Le premier montant central n’est pas égal aux montants latéraux, pour que leurs joints ne se rencontrent pas, mais que tout l’assemblage soit à joints coupés, et prenne de la solidité par l’unité qui existe entre les pièces juxtaposée.[39]
Des échelles, placées diagonalement sur les traverses de chaque côté, recouvriront tout l’ouvrage.
C’est ainsi qu’on peut, avec un petit nombre de pièces de bois de faibles dimensions, faire une grande tour, d’une hauteur égale à celle du rempart; la figure est représentée ci-dessous.
La tour ainsi terminée, il faut donner aux moises de l’étage supérieur une grande saillie sur les montants centraux, sur la face tournée vers la place; et elles doivent recevoir entre elles deux pièces de bois droites, d’une épaisseur égale à l’intervalle que les moises laissent entre elles, et de la même largeur que les pièces moisées, avec une longueur de vingt pieds, ou suffisante pour atteindre le mur, en les laissant retomber.
Elles doivent être fixées aux moises au moyen de clavettes en fer, et il faut y clouer de chaque côté des planches jusqu’à hauteur d’homme, afin qu’en cas de besoin on puisse les dresser en les manœuvrant avec de petits cordages fixés aux montants centraux, et qu’elles puissent ainsi fournir une sorte de parapet aux hommes qui combattent de l’intérieur de la tour.
En prévision des coups obliques, les deux côtés, entre les montants centraux, qui naturellement sont en saillie, doivent être reliés au moyen de planches et recouverts de peaux lâches.
La figure ci-dessous se rapporte à une grande tour; mais elle peut de même s’appliquer aux autres.

Quand le moment favorable est venu, on lâche les cordages, les poutres tombent sur le mur, ayant des planches très rapprochées de la tour.[40] Pour rendre ce passage tout à fait facile, on place des espèces de nattes, percées de trous, et munies de cordes formées de petits branchages et ayant la chaîne en corde ………………[41] cela doit nécessairement être ainsi, afin que les nattes, étant sans liaison entre elles, ne tombent pas en dehors dans le mouvement, et qu’étant réunies, en se déroulant elles remplissent le pont, et qu’on puisse facilement les retirer s’il est nécessaire.

Puis, si l’on veut, on peut placer sur la tour, sur les faces des montants centraux de la partie supérieure, des mâts quadrangulaires, qui supporteront des systèmes de suspension de béliers.
Ces béliers viendront battre les créneaux, les disloqueront, et feront abandonner leur poste aux défenseurs du rempart; et, si l’on a soin de réunir par une pièce de bois les extrémités des deux béliers, on pourra renverser ensemble un grand nombre de ceux qui sont sur le mur.
Ces mâts doivent être maintenus au moyen de câbles fixés aux montants latéraux et aux traverses.
La figure est représentée ci-après.[42]
Si l’on veut, en établissant ces béliers, qu’ils puissent aussi servir de pont-volant, voici ce qu’il y a à faire.
Ces béliers parallèles doivent être éloignés du mur, quand ils sont suspendus, afin qu’on puisse difficilement leur nuire par ruse; mais dans leur mouvement et lors du choc, lorsqu’on les fait avancer, on doit y avoir cloué verticalement des montants parallèles, de quatre doigts de largeur, trois d’épaisseur, et trois pieds de hauteur. Ces montants doivent être reliés au moyen de deux lisses fixées avec des chevilles, ces lisses ayant une longueur égale à la quantité dont s’avance le bélier. Il faut aussi sur le côté de l’autre bélier clouer de la même manière des lisses, pour pouvoir envelopper tous les montants qui se trouvent autour.
Ces montants, quand le bélier vient frapper les créneaux ou leurs défenseurs, sont inclinés sur le corps du bélier; mais quand on veut passer sur les béliers, ces montants se relèvent et se maintiennent verticaux, la lisse étant tirée de l’extrémité du bélier de manière former une espèce de barrière, qui permet de traverser sans danger; car, le bélier lancé porte un homme sur le mur, ou même un plus grand nombre, faisant ainsi fonction de pont.
Lorsque les béliers ne fonctionnent pas, il faut les ramener obliquement par côté, pour les éloigner davantage du mur; trop rapprochés, ils seraient exposés à des tentatives (de la part de l’ennemi).[43]

On peut aussi à volonté au haut de la tour, sur la face antérieure des montants centraux supérieurs, placer une traverse, et au milieu de celle-ci et de la traverse inférieure, disposer un axe vertical, susceptible d’un mouvement de rotation, et muni d’une longue perche, amincie d’un bout, et dépassant le niveau du mur; la partie postérieure de cette perche, tournée du côté de la tour, doit être courte, lourde et épaisse, tandis que celle qui est dirigée vers le mur doit être longue, légère et mince, ayant la forme d’une longue épée, et faire équilibre à l’autre.
Cela fait, il arrivera que ceux qui sont dans la tour, mettant en mouvement la petite partie de la perche, feront aussi mouvoir la longue partie à l’autre extrémité, et abattront tous ceux qui se tiennent sur le rempart, qui seront renversés par la violence du mouvement de rotation; car l’arc de cercle décrit dépasse et balaie les hommes placés sur le mur.
La figure[44] est représentée, avec l’étage supérieur de la tour décrite plus haut.

Il sera préférable et plus efficace, au lieu de cet axe vertical, de suspendre une perche à la traverse des montants centraux à la manière d’un bélier, et de la fixer de même par le bas à une en taille circulaire, afin que cette espèce de bélier ne vienne pas à vaciller, s’il se mouvait trop librement.
Un axe ne présentera pas les mêmes avantages que ce système de suspension, en ce que cet axe solide ne permet à la perche qu’un seul mouvement, c’est-à-dire la position qu’on lui a donnée dès le principe; tandis que la suspension permet de l’élever ou de l’abaisser au besoin.
Lorsque le sol qui se trouve sous la tour n’est pas plan, mais qu’il présente des flâches, on construira pour la tour un bâti qui la supportera, en enchevêtrant les pièces de bois de la même manière que pour la tour, de façon à s’appliquer aux déclivités du sol, et à former une base large pour y placer la tour.
Voici comment on préservera la tour du danger d’incendie.
Il faut fixer des planches tout à l’entour, et y suspendre des peaux recouvrant les planches, sans être cousues après ces dernières, de manière à envelopper tout l’espace et amortir les traits; elles doivent être fixées au moyen de clous à tête plate présentant une saillie, et il faut remplir d’argile grasse l’intervalle entre les clous.
Pour les parties exposées aux projectiles incendiaires, il convient d’avoir, pour faire fonction de tuyaux, des boyaux de bœufs, qui portent l’eau à la partie supérieure; à l’extrémité de ces boyaux, on place des outres pleines d’eau, qui étant pressées, élèvent l’eau.
Dans le cas où quelqu’une des parties supérieures, difficile à atteindre, viendrait à prendre feu, si l’on n’a pas de ces instruments connus sous le nom de siphons,[45] on se servira également de roseaux percés, comme ceux des oiseleurs, que l’on disposera dans les points où il est nécessaire de leur faire conduire l’eau; et, au moyen d’outres pleines que l’on presse, on la lancera à travers les roseaux jusqu’au point incendié.
De tous les engins mentionnés plus haut, les échelles sont les plus commodes, les plus faciles à se procurer et à construire, les plus utiles, et ceux qu’on peut le plus facilement réparer; mais ce sont aussi les plus exposés au danger; car ces échelles sont entièrement à la merci des défenseurs de la place.
Ceux-ci peuvent, en effet, s’emparer sans peine et de l’échelle elle-même et des hommes qui en font usage; car, une fois les échelles approchées du mur, les assiégés peuvent les attirer à eux, les repousser, les briser, ou même empêcher de les mettre en place; quant aux hommes qui y montent, ils sont, dès le début de leur ascension, exposés au danger des projectiles dirigés contre eux; une fois parvenus au sommet de l’échelle, ou à une grande partie de la hauteur, d’où leur chute peut avoir lieu de plus haut, ils sont repoussés, et tombent avec l’échelle; ou encore, on les accable de projectiles d’un poids considérable lorsqu’ils sont sur le point d’atteindre le rempart, et ils sont précipités sur le sol.
Il n’existe pas de moyen pratique de protéger ces hommes, parce qu’ils sont toujours placés en contrebas de l’ennemi, solidement établi sur le haut du rempart, tandis qu’eux situés plus bas, ne forment qu’une file étroite sur les degrés de l’échelle, et ils ont en outre le désavantage d’être privés de l’usage de leurs mains.
Aussi est-il nécessaire avant tout que ces échelles soient conçues de manière à être faciles à se procurer, à construire et à transporter, composées de petites pièces de bois, et disposées de manière à dépasser le mur de trois pieds au moins.[46]
On doit donner à chacune de ces échelles une longueur de douze pieds, et les construire en bois de frêne, de hêtre, d’orme, de charme, ou tout autre semblable, léger et résistant. Car il faut que les échelles puissent suivre l’armée toutes faites, comme les armes, et qu’elles n’aient ni trop de volume ni trop de poids.
Les échelles doivent toutes être reliées entre elles (deux à deux) par deux échelons, les deux premiers et les deux derniers.
Les premières doivent avoir de plus que les secondes, en largeur, l’épaisseur des deux montants; les secondes doivent être de même par rapport aux troisièmes, et celles-ci par rapport aux quatrièmes.
Si le rempart est assez élevé pour nécessiter l’assemblage de quatre échelles, ou plus, on les ajustera de la manière suivante
On fait entrer les deux montants de la seconde échelle dans l’intervalle de ceux de la première, et on fait correspondre les deux premiers échelons de la première avec les deux derniers de la seconde, de manière à les relier au moyen de clavettes en fer ou en bois; il faut que les abouts des échelles soient cerclés de lames de fer sur toute leur longueur à partir de l’extrémité, pour que, par suite du poids qui les charge, les trous des clavettes ne les fassent pas fendre; et les échelles doivent de chaque côté être assemblées et réunies: avec ces soins on arrivera toujours à construire une longue échelle.
Les premiers échelons, ceux du milieu et les derniers, entourés de lames de fer, sont cloués sur les montants.
On assemble les échelles de la manière suivante:
La dernière se place verticalement; on l’assemble avec la seconde, et on pose une clavette; à côté de l’échelle, on dispose une pièce de bois peu élevée, munie d’une traverse retenue par quatre câbles, de manière à rester verticale. Lorsqu’on tire cette pièce de bois placée contre la première échelle, elle la fait suivre, ainsi que celle qui y est liée par une clavette; et celle-ci est assez élevée pour se maintenir d’aplomb, de manière à recevoir une seconde clavette ; et les deux échelles n’en forment plus qu’une. De même pour la troisième échelle on la fixe par une seule clavette, on l’élève au moyen de la poutre transversale, on la dresse, et on pose la seconde clavette.
Pour que les échelles ne vacillent pas d’en haut, on y adapte dans le sens de la largeur quatre câbles, qui les préservent provisoirement de l’oscillation.
De même, on fera suivre la quatrième, si la hauteur l’exige; les quatre échelles se comporteront alors comme une seule échelle droite.
On doit placer sous la première échelle une poutre légèrement arrondie, sur laquelle elle s’adaptera au moyen de barillets et de clavettes; cette poutre aura une épaisseur d’un demi pied à douze doigts (0,16 m à 0,23 m), et une longueur de quinze pieds; à ses extrémités, il faut poser des arcs-boutants formés de pièces de bois clouées, qui seront inclinées contre les montants de l’échelle, de manière à empêcher les oscillations dans un sens ou dans l’autre. Contre cette poutre, on fiche en terre deux pieux de chaque côté, afin de pouvoir tourner et incliner l’échelle sans la renverser.
Les soldats se tiendront sur les échelles,[47] et lorsque le moment sera venu, on les inclinera toutes, et ils fondront en foule sur l’ennemi.
Dans le bas, il faut avoir des câbles placés en arrière, et tendus au moyen de machines, afin que si le choc était trop violent, on puisse ramener en arrière loin du rempart les échelles retenues par ces câbles.

Il faut aussi, soit sur les échelles, soit sur un bras qui les dépasse de cinq pieds, suspendre une longue planche semblable à une vergue de vaisseau; on peut aussi placer deux bras en saillie, avec une barre assemblée avec eux, et suspendre cette planche au milieu à la manière d’un joug de bœuf.
Mais, comme pour cela il faut de longues planches, et que les longues pièces ne sont pas faciles à se procurer, on peut en prendre une de vingt pieds au moins, avec laquelle on en assemblera en longueur une autre de vingt pieds, de manière que les deux ensemble donnent une longueur totale de quarante pieds. La largeur de ces pièces doit être d’au moins un pied, et épaisseur de deux doigts au moins. Puis, se reculant de douze pieds, il faut assembler de chaque côté deux planches de vingt pieds, et on complète la longueur au moyen de deux autres de huit pieds posées à la suite [des secondes de vingt pieds]; puis, se retirant encore de vingt-six pieds (par rapport aux premières planches), on en place par-dessous deux de quatorze pieds.
Les planches seront ainsi juxtaposées, une de douze pieds dé passant, puis les secondes de quatorze pieds, avec trois planches d’épaisseur; enfin les troisièmes, également de quatorze pieds de longueur, avec cinq planches d’épaisseur. L’assemblage doit être régulier; puis on les perce dans leur milieu. Elles doivent être distantes entre elles de deux doigts et demi.[48]
Tout le système doit être relié de chaque côté au moyen de cordes ou de nerfs tendus avec soin et coincés, et s’engageant dans de petites encoches pratiquées dans les planches, afin que le lien ne glisse pas; il est encore préférable de se servir d’éclisses clouées, pour que tout l’ensemble soit consolidé sans entailler les planches et que l’ouvrage entier présente une forme plus étroite.[49]
Il faut suspendre cet engin à douze pieds[50] de la partie la plus épaisse, également avec des anses clouées de chaque côté, afin que la suspension reste en place, et que la plus grande longueur fasse exactement équilibre à l’autre, ou que le poids de cette longueur ne donne qu’un faible excédent.
On doit, en outre, disposer à l’extrémité de la partie la plus épaisse un câble, distant de douze pieds du point de suspension; de même un autre de l’autre côté de ce même point, à cette même distance de douze pieds.
(Au moyen de l’appareil qui vient d’être décrit), il arrivera que, en tirant le câble supérieur, (celui de la partie la plus épaisse), tout le système de planches sera soulevé, et qu’en lâchant le câble, elles retomberont violemment; surtout si l’on vient en aide à l’action de la gravité en tirant l’autre câble; et l’on pourra ainsi renverser tous les hommes qui se trouveront sur le rempart.
Il est bon de clouer des lames de fer tout autour des côtés de la première planche (celle qui dépasse de douze pieds), afin d’éviter qu’elle se fende.
Cette planche, composée et organisée comme des antennes de navire, est susceptible d’être manœuvrée non seulement vers le haut et vers le bas, mais aussi de chaque côté, de manière à pouvoir l’abattre, non sur un seul point, mais sur plusieurs.
Ci-dessous est la figure de l’ensemble des planches, ainsi que de la suspension.

On relève dans ce cas les deux bras latéraux de l’échelle on passe la traverse qui les lie, et on y suspend une longue perche amincie à une extrémité, et entaillée suivant une rainure semi circulaire, présentant la forme d’une gouttière; sa longueur ne doit pas être inférieure à trente pieds.
Elle doit être suspendue à huit pieds de hauteur, et l’extrémité la plus courte doit être retenue par des câbles, afin d’éviter que le long bras vacille trop fortement, et de permettre, au moyen des câbles, de l’incliner à. volonté. Il faut disposer autour du point de suspension des (plaques en forme de) joues, fixées avec des clous, de manière à. recevoir facilement les liquides qui seront versés (sur la perche).
Il arriver alors que, si l’on met de l’eau dans l’appareil, elle s’écoulera tout le long de la gouttière; mais, pour qu’elle ne s’écoule pas en masse comme dans un siphon, il faut suspendre dans la rainure une plaque d’airain percée de trous, de telle sorte que le courant soit partagé, et, se répandant, occupe un plus grand espace.
Le liquide qu’on emploiera sera de l’huile bouillante, ou de l’eau chaude, plus facile à. se procurer; en tombant sur la poitrine des assiégés, elle les brûlera.
On fera arriver sur l’échelle l’eau ou l’huile chaude, dans des vases d’airain, au moyen d’un câble enroulé sur une poulie suspendue à. la partie supérieure de l’échelle; l’extrémité de ce câble doit arriver jusqu’au niveau du sol; à. chacune de ses extrémités, on disposera des seaux, soit de jonc tressé, soit d’airain, soit de bois, peu importe, sur lesquels on placera les vases renfermant le liquide chaud. Il arrivera, en conséquence, que, lorsqu’on attirera le seau vers le haut, celui qui est plein montera, et le vide redescendra; et, faisant ainsi sans s’arrêter, ira toujours se remplir de liquide.[51]
Dans le cas où l’on n’a pas de perche convenable, deux planches assemblées avec soin peuvent faire le même effet, ou de longues lames de fer concaves, assemblées bout à bout pour augmenter leur longueur.
Si ni la perche ni le tuyau ne peuvent atteindre le mur, on incline l’échelle, de façon à la faire avancer de chaque côté; car ce genre de liaison est susceptible de mouvement dans tous les sens.
La figure est ci-dessous.

On assemble, en avant de la tour qui porte le bélier, deux échelles, assez éloignées l’une de l’autre vers le pied, un peu plus épaisses que les premières, et se rapprochant vers le haut, en conservant un écartement de six pieds au moins; elles ne doivent pas être tournées du côté du rempart.
Dans la partie supérieure, du troisième échelon de l’une au troisième échelon de l’autre, on dispose un plancher formé de poutres et de planches; puis, à dix-huit ou vingt pieds (plus bas), d’autres échelons reçoivent un plancher, mais qui ne doit pas régner sur toute la largeur, car il faut laisser sans être planchéiée la place de l’échelle destinée à l’ascension. De chaque côté des échelles, on doit placer des chevilles en saillie, qui permettent de planchéier sur une étendue plus large que l’intervalle des échelles.
C’est alors qu’on établira un bélier suspendu au plancher supérieur au moyen de deux points de suspension bien exactement de niveau, afin que les hommes qui sont montés sur les étages supérieurs puissent combattre au moyen du bélier; car tout poids trop élevé ou trop dégagé est facile à briser; et, au moyen de ce bélier, les hommes pourront, grâce à sa forme carrée, arriver jusqu’au rempart, en plaçant, ainsi qu’il a été déjà expliqué, des balustrades de chaque côté;[52] en effet, ces mêmes échelles ne vacillent pas à leurs extrémités, mais conservent un écartement constant.
La figure est représentée ci-dessous.

Seconde disposition.[53] - On peut donner aussi aux échelles une autre disposition, en les plaçant parallèlement au rempart; alors, elles ne sont pas espacées de la même manière que dans le premier cas, mais parallèles entre elles, tout en étant munies d’étages comme les précédentes. Elles n’en diffèrent qu’en un point; au lieu d’un seul bélier placé entre elles, on en met deux, disposés extérieurement, sur les deux faces.
Une fois que ces deux béliers ont eu quelque effet, ayant renversé ou brisé les obstacles qui leur étaient opposés, en relâchant les câbles à l’arrière, on fait avancer les deux échelles vers le mur; l’une d’elles vient s’y appliquer, tandis que l’autre s’en tient à une distance égale à l’écartement qu’on a donné aux deux échelles.

Troisième disposition. - Dans cette disposition comme dans la première, tandis que les hommes chargés du bélier font leur service, les soldats qui sont sur le plancher supérieur harcèlent l’ennemi en combattant, se retranchant derrière les deux premiers échelons, recouverts de peaux, qui leur fournissent un abri semblable aux créneaux d’un rempart.
Ces échelles doubles seront d’une grande utilité pour porter secours et pour la manœuvre, si dans chacune des échelles réunies on ménage entre les chevilles placées au même niveau des incisions de chaque côté, disposées de manière à ne garder entre elles que l’intervalle qui existe entre les échelles, de manière à ne pouvoir ni s’écarter ni se briser. Pour que leur écarte ment ne puisse s’accroître au-delà de la limite adoptée, il faut clouer d’avance aux perches qui servent de montants, et de distance en distance, des anses qui se rapprochent au moyen d’un mouvement circulaire, et compriment l’incision faite dans la cheville.
Ensuite, le bélier que portent les échelles en leur milieu recevra à sa partie supérieure deux planches carrées disposées comme des joues; ces planches seront percées et recevront des chevilles et des tresses de nerfs; on placera au milieu de ce faisceau un long bras, comme ceux qui existent dans les lithoboles monancones, que certains auteurs appellent des frondes; ce bras retenu par un câble formant détente, une fois envoyé violemment contre le mur, frappera les défenseurs du rempart à la manière d’une monancone, et fera de grands ravages parmi ceux qui se trouvent sur le mur.

Il faut construire un radeau dont la longueur soit supérieure la largeur du fleuve, et le composer de planches qui ne soient pas réunies par des clous joints trop exactement, de crainte que par suite des efforts du courant dans diverses directions, il ne s’écarte et se brise mais, en plusieurs points, on doit le consolider au moyen de câbles et avec des clous plantés en petit nombre.
La partie du bâti qui est tournée vers le fleuve présentera une sorte de rempart en bois assemblé à charnières, d’une hauteur de douze pieds, fixé au moyen de montants droits, reliés par des clous à des planches en écharpe.
Il faut aussi suspendre des peaux sur la face du rempart, et appliquer à l’intérieur des échelles dont les montants doivent être traversés aux deux extrémités de chevilles rondes; les unes, appuyées sur le rempart, doivent avoir leurs charnières sur les pièces verticales; les autres doivent être fixées au sol, afin que la paroi soit consolidée par l’obliquité des échelles (formant arcs boutants), et se maintienne d’aplomb. Des hommes, situés sur ces échelles, combattront, se trouvant à une hauteur qui dominera les créneaux de l’ennemi situés en face d’eux.
Ce rempart ne doit pas être d’une seule pièce, afin qu’au besoin une des parties reste en place, tandis que l’autre se rabat. Dans le cas où il deviendrait nécessaire que le tout s’abaisse, nous le ferons ainsi qu’il suit, en rabattant toutes les échelles à l’intérieur à partir du sol.
Reliant ce radeau avec des câbles à des pieux placés en dessous, loin du bord, nous le pousserons de l’amont (en lâchant les câbles), vers la partie aval du fleuve. L’angle du radeau une fois délié, il s’ouvre à travers l’eau, par l’effet du courant lui-même, une sorte de porte remplie par l’appareil même, et son extrémité parvient jusqu’à la rive opposée; car, lorsque le radeau a passé, sa largeur ne peut pas opposer de résistance à la force du courant, puisque nous avons exposé plus haut que la longueur du radeau était supérieure à la largeur du fleuve.
A cette extrémité se trouvent dans la partie inférieure du bâti de grandes cuves, et on assemble le tout avec soin au moyen de pieux en bois; on rattache le bâti, de manière que les câbles ne se voient pas, et on obtient la figure ci-dessous.

Le radeau ainsi établi, en cas de combat, l’ouvrage se détache par l’extrémité (du côté des assiégeants); le courant agit sur le radeau placé obliquement, et vient le placer parallèlement à. l’autre rive, tout l’ensemble étant ainsi disposé et prêt. Les hommes, montant sur les échelles, combattront bravement, comme du haut d’un rempart.
Quant cette rencontre aura repoussé l’ennemi, on détachera les liens qui retiennent au plancher du radeau le pied des échelles, le rempart (en charpente) se rabattra peu à. peu (vers la place), pendant qu’on tirera les échelles par dessous, et l’ensemble fera une sorte de gradin pour franchir l’espace intermédiaire: on formera ainsi un passage continu pour la marche.
On doit également ménager secrètement des ouvertures dans la partie inférieure du rempart du radeau, de manière à pouvoir envoyer des javelots et des traits sur l’ennemi, en cachant les combattants, et se présenter sur deux rangs contre l’assiégé, qui n’a qu’un front, suivant la première figure ci-dessous.[54]
Nous figurons aussi une élévation de l’appareil, afin de bien montrer la disposition des échelles et celle du rempart.

Dans le cas où il serait nécessaire de réparer le pont, qui serait venu à s’entrouvrir par la force du courant, il ne faudrait pas se porter en masse sur la rive ennemie ni au point de brisure, mais rattacher l’ouvrage en partant du bord que l’on occupe, et avancer de proche en proche, pour pouvoir parvenir en sûreté au point menacé.
Ernest Lacoste.
[1] Ces figures, exécutées pour l’ouvrage de M. Wescher d’après les dessins en couleur, à grande échelle, du manuscrit Mynas, ont été obligeamment prêtées à la Revue des Etudes Grecques par l’Imprimerie Nationale. Nous prions M. le Directeur de l’imprimerie d’agréer ici tous nos remerciements.
[2] Le recueil de Thévenot contient, en outre, deux traités de Héron sur les Pneumatiques et les Automates.
[3] A. de Rochas, La Poliorcétique des Grecs. Paris, 1811; Graux et de Rochas, Philon de Byzance: Traité de fortification (Revue de Philologie 1877). Le général de Reffye et M. Vincent (de l’institut) ont fait, mais non publié, chacun de son côté, les traités de Héron et de Philon sur les machines de trait. M. Prou et M. Vincent ont publié chacun une traduction de la Chirobaliste de Héron.
[4] L’obélisque de la place de la Concorde ne pèse que 250 tonnes ; le poids de la statue de Memnon est estimé à 1.600 tonnes.
[5] Hist. Rom. I, 69. Traduction Gros et Boissée.
[6] Ce livre de Héron de Constantinople ne figure pas dans le recueil de Thévenot; en 1572 Barozzi en a publié à Venise une traduction latine. En 1867, M. Wescher en a publié le texte grec, dans son recueil imprimé à l’imprimerie impériale. M. Th. Henry Martin en a traduit un certain nombre de passages dans son étude sur les ingénieurs du nom de Héron (Mém. de l’Ac. des I. et B. L.: Savants étrangers, 1854).
[7] Ces discussions devaient faire partie des instructions verbales données à l’aide, car les manuscrits grecs n’en font pas mention.
[8] Tortues destinées à supporter le bélier; cette machine et plusieurs autres énumérées par Apollodore ont été décrites complètement par Athénée. (Recueil à la mémoire de Ch. Graux).
[9] Nous avons reporté à sa place naturelle le titre placé plus bas (avant les fossés palissadés) par les manuscrits grecs.
[10] Ce procédé est analogue aux barrages en clayonnages construits par l’administration forestière pour l’extinction des torrents des Alpes.
[11] Pour ce passage, un peu obscur chez Apollodore, j’ai traduit en me basant sur la description de cette machine donnée par Héron de Constantinople (Chapitre 1er).
[12] Le grec dit une tunique; nous dirions encore aujourd’hui dans le même sens, que les hommes sont couverts par la largeur des tortues, ou mieux, dans tout l’angle formé par le coin.
[13] Nous avons cru pouvoir rendre par le mot berceau le grec ampeloz en latin Vinea qui signifie berceau de vigne, tonnelle, gloriette; il paraît naturel de rendre par le mot français correspondant l’idée qui a présidé en grec au nom de la machine. Pour ces tortues, voir César, B. C. II, 2; Tite-Live, XXXVII, 6; Végèce, R. M., IV, 5, et la figure ci-contre extraite de Héron de Constantinople.

[14] Le texte grec présente ici une lacune, pour laquelle M. Wescher propose une restitution que nous avons suivie; cette lacune ne semble d’ailleurs être que de trois ou quatre mots. Le manuscrit de Bologne indique en outre l’épaisseur des perches, qui devait être de douze doigts (0,23 m).
[15] C’est-à-dire sur la grande face tournée vers la place et sur les deux petites faces latérales.
[16] C’est-à-dire la double pente destinée à écarter les projectiles.
[17] Le Dictionnaire des Antiquités romaines et grecques d’Anthony Rich, au mot Vinea, donne une hauteur de 2,45 m et une longueur de 4,90 m.
[18] La figure n’indique en réalité qu’une seule tortue sur les trois qui sont annoncées.
[19] Nous traduisons ici parastathz par cadre. Ce mot est pris dans divers sens particuliers par les ingénieurs grecs ; mais tous ces sens, conformément à l’étymologie, indiquent les pièces de renfort, placées contre d’autres pièces. Ici, il s’agit évidemment d’un cadre horizontal qui reçoit sur la traverse la plus éloignée du mur, à la manière d’une sablière, les abouts intérieurs des chevrons (loxa xula, bois obliques); les deux longrines perpendiculaires au mur reçoivent des arcs-boutants (ereidonta xula) qui contrefichent les chevrons extérieurs, et sont légèrement en fruit, de manière que les parements latéraux ne soient pas verticaux.
[20] Le grec porte: une planche devant être placée en haut et en bas; nous avons donné à ces planches les noms usités dans les travaux modernes de charpente.
[21] Le texte grec porte « astérisques » (asteriskoi). Héron de Constantinople (chapitre VII, page 221 du texte du Wescher et figure LXXXVIII, p. 222) que nous reproduisons ci-contre),

dit: S’il (le cylindre) reçoit, à la manière de treuil de puits, des petites barres le traversant en croix par le milieu, que quelques uns appellent, à cause de la forme de la figure, des astérisques... Cette disposition était identique à celle de nos cabestans, ou de nos treuils de haquet.
[22] En grec « Tortue criophore » ou porte-bélier.
[23] Il y a là une erreur évidente clans les manuscrits: il s’agit ici de fourrures destinées à protéger les côtés de la machine, dans la partie correspondante à la hauteur des roues
[24] L’auteur semble indiquer que les bois devront être assemblés par bout, soit à queue d’aronde, soit à trait de Jupiter, puis cloués, et enfin éclissés mais la figure ne donne pas le détail de l’assemblage, incomplètement décrit dans le texte.
[25] En grec des échelles dites guetteurs, skopoi;celui qui regarde, en latin spectator.
[26] Les lexiques traduisent en général ce mot par large d’un côté; mais il est difficile de voir là un sens acceptable et il semble bien préférable de se ranger à l’opinion de Thévenot, qui voit là des madriers dont une face est planée avec soin altera parte laevigata.
[27] Il y a là dans le texte une erreur évidente; il résulte en effet des lignes suivantes que l’intervalle de ces montants, dans lequel doit se placer l’échelle, est de trois pieds et demi au minimum.
[28] Littéralement : que sur une partie (d’un côté) deux parties de leur longueur dépassent, et sur l’autre trois parties. Nous croyons que c’est là la seule explication raisonnable, car la traduction de Thévenot n’a pas le sens commun: les deux tiers d’une part, et les trois quarts de l’autre.
[29] Qui forment en même temps les montants de l’échelle.
[30] Ces figures sont données plus haut; nous plaçons ici celles de Héron de Constantinople, qui donne de cet appareil une description très complète.
[31] Littéralement à quatre faces d’épaisseur différente; le sens que nous indiquons est confirmé par les dimensions spécifiées plus bas : un pied et quart de largeur, et douze doigts d’épaisseur.
[32] Il s’agit évidemment ici de moises horizontales, formant le bâti inférieur de la tour.
[33] C’est-à-dire que les moises, espacées de douze doigts, soit environ 0, 23 m, doivent être, à leurs extrémités, en dehors des poteaux d’angle, légèrement entaillées, de manière à présenter entre elles un espace libre d’environ un pied (0,30 à 0,32 m), qui permette l’insertion et le jeu d’une roue.
[34] Épaisseur égale à l’épaisseur des moises, dans lesquelles s’encastrent les montants.
[35] Il s’agit ici sans doute de couvre-joints.
[36] Les montants n’auraient pas, en effet, une résistance suffisante, s’ils étaient d’une seule pièce, à moins d’employer des bois d’une dimension difficile à se procurer et d’un emploi peu pratique en campagne; aussi l’auteur conseilla avec raison de les faire en plusieurs pièces accolées.
[37] Pour compléter le carré, l’auteur ne nous ayant encore parlé que des deux faces comprenant les incises.
[38] C’est-à-dire que les étages successifs de la tour doivent être en retrait les uns sur les autres. Il est cependant à remarquer que les divers manuscrits d’Apollodore n’indiquent nullement, dans les figures qui y sont insérées, cette disposition, d’ailleurs parfaitement rationnelle: la figure ci-contre qui la donne, est empruntée à Héron de Constantinople.

[39] Cette disposition, absolument logique, est en contradiction avec un passage précédent, où il est dit que l’ouvrage doit avoir du fruit, au moyen de retraites à chaque étage ou tout au moins de distance en distance; mais elle concorde avec la recommandation vue plus haut de maintenir le parallélisme des montants, il semble que, par suite de l’imperfection des manuscrits, il y ait une sorte de mélange de description de deux types de tours, l’une absolument droite, et l’autre avec étages en retraites successives.
[40] Formant plancher dans la partie en saillie des moises supérieures.
[41] Ces nattes ont, comme texture, une certaine analogie avec les stores en bois employés de nos jours. Il existe ici dans les manuscrits grecs une lacune, qui semble peu importante.
[42] Voir la figure suivante, celle qui est annoncée n’existant pas à cette place dans les manuscrits.
[43] Cette figure s’applique également à la tour avec bélier ordinaire.
[44] La figure, qui, dans les manuscrits, est rejetée à la fin du chapitre des tours, donne, au lieu de cette disposition, celle qui est décrite plus bas, et dans laquelle la perche est suspendue à la manière d’un bélier.
[45] Il s’agit sans doute ici de pompes. Héron, d’Alexandrie, dans ses Pneumatiques, donne une description très complète de la pompe aspirante et foulante, aussi parfaite en principe sinon dans les détails d’exécution, que celles dont on fait usage aujourd’hui.
[46] Cette phrase ne se déduit pas logiquement de ce qui précède, aussi pensons-nous qu’il y a ici dans les manuscrits une lacune ou une transposition.
[47] Les manuscrits et le texte de M. Wescher présentent ici une lacune qui semble peu importante.
[48] Il doit y avoir là une erreur; en effet, les planches assemblées doivent être jointives, l’auteur n’indiquant aucune fourrure entre elles; à moins qu’il ne s’agisse de jeu laissé dans la longueur.
[49] muoron schma l’auteur veut dire sans doute que, eu supprimant les liens en corde et les coins qui relient les planches, l’ensemble aura une largeur moins considérable.
[50] Plus exactement à douze pieds et six doigts, distance à laquelle se trouve le centre de gravité de tout le système.
[51] Il résulte très nettement du texte que cette disposition est identique à celle des puits, le seau plein remontant, et faisant descendre le vide, qui se remplit dans le bas; mais la figure indique une autre disposition, qui est exactement celle de nos chapelets à augets, employée encore couramment pour les norias.
[52] C’est-à-dire que le bélier, formé d’une poutre équarrie, peut servir de pont-volant grâce aux balustrades dont on le munit : voir plus haut, chap. vii, § 4.
[53] Nous avons reporté à leur place naturelle ces deux mots que le texte grec place à tort quelques lignes plus bas.
[54] Cette figure manque dans les manuscrits grecs.